
 閥門知識
閥門知識 閥門首頁 > 閥門知識 >
閥門首頁 > 閥門知識 > 
	電動閥門為什么要有切換手柄呢?電動閥門設置切換手柄的主要目的是實現電動驅動與手動操作的切換。電動閥門裝置由多個部分組成,其中包括電動機、減速器、控制機構、手-電動切換機構、手輪部件及電氣部分。手-電動切換裝置為半自動切換,電動轉變為手動操作需板動切換手柄,而由手動轉變為電動是自動進行的(需板動切換手柄)。這種設計允許閥門既具備電動驅動閥門工作的功能,又具備在某種情況下用人工操作閥門工作的功能。
	
具體來說,電動閥門通過電源信號對閥門進行控制,但在電源意外斷停或電動執行機構自身出現故障時,通過加裝的手輪機構可以對閥門進行控制。手輪充當著備用啟動的角色,選擇手輪作為備用執行機構,既經濟又簡便,不會對整臺閥門造成任何不良影響,對閥門的安裝空間也未大幅加大,非常合適。此外,在電動執行機構進行維護時,手輪可以保證閥門繼續使用,保障處理故障與維護順利進行。因此,設置切換手柄的目的是為了在需要時能夠實現從電動驅動到手動操作的平滑轉換,以確保閥門的可靠性和安全性。
	
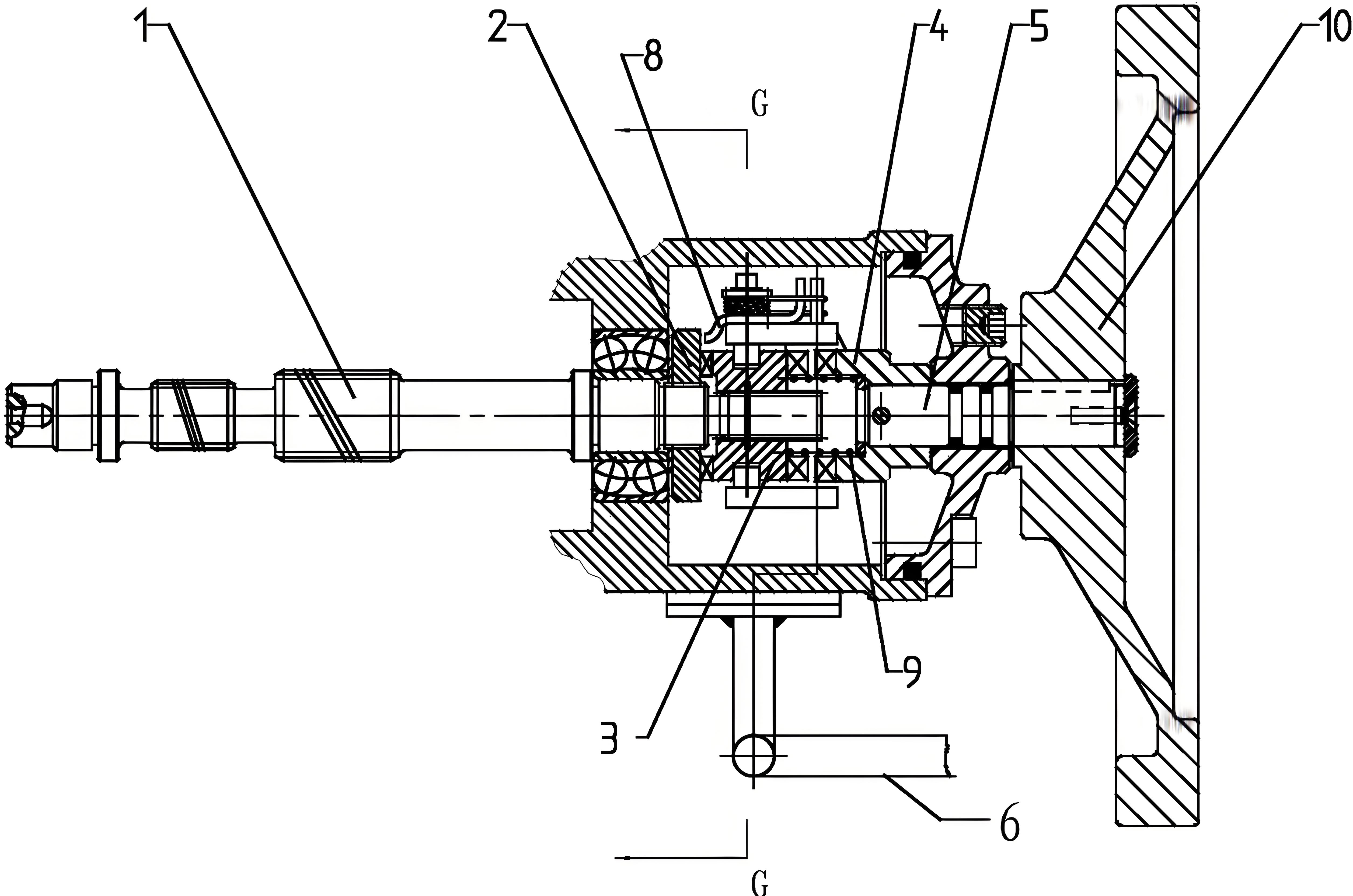
	切換手柄相當于離合器,當閥門需要手動操作時,按下切換手柄,手輪即與執行器內部傳動機構連接,這時轉動手輪就可實現閥門的開關了。當電動操作時,執行器中的電機一啟動,切換手柄自動彈開,手輪與執行器內部傳動機構脫開,這時就是電機驅動執行器了,而手輪就不動了,這樣可避免在手動操作時電機突然誤動作而傷人。為半主動切換,手動時需扳動手柄切換,手動狀況轉變為電動時則主動運轉。其結構見圖。它由手柄、切換件、直立桿、離合器、壓簧等組成。需手輪操作時,將手柄向手動方向推進,切換件使離合器舉高,并壓榨壓簧。當手柄推到必定方位時,離合器即脫離蝸輪而與手輪嚙合,一起直立桿在扭簧效果下直立于蝸輪端面,支撐住離合器不致下落,切換完結即可放開手柄,運用手輪進行操作。而需電動操作時,電動機將帶動蝸輪滾動,支承于蝸輪端面的直立桿即倒下,在壓簧效果下離合器敏捷向蝸輪方向移動,并與蝸輪嚙合,一起與手輪脫開,主動完成手動到電動狀況的變換。
	
	一、手動切換
	
	當電動閥門出現故障或停電時,需要切換至手動模式來手動控制閥門的開啟和關閉。切換至手動模式的方法如下:
1、找到手動操作柄,一般位于電動操作柄的底部或側面。
2、將手動操作柄插入電動閥門的手搖孔中。
3、 通過手動操作柄來旋轉閥門的開度,手動操作時需要注意力度,不可過大或過小。
	需要注意的是,在手動模式下,閥門將不能被電動操作或遠程控制。故障修復后,需要重新切換至電動模式。
	 
	二、自動切換
	 
為了更方便地在電動和手動模式之間進行切換,閥門的設計中通常會預留一個自動切換功能。當閥門的電源故障或掉電時,自動切換功能會自動切換至手動模式。
	需要注意的是,自動切換功能需要進行正確設置才能正常工作。具體設置方法需參考閥門使用說明書進行操作。在使用自動切換功能時,需確認手動操作柄已將手搖孔卡緊,以免在閥門操作時造成手動操作柄的意外脫落。
	 
總之,手動與電動閥門之間的切換需要進行正確操作,避免不必要的損失和傷害。在日常使用中,對于電動閥門的控制和維護要保持周到,以確保閥門的正常運行。
上一篇:手機app智能遙控閥門,無線app手機控制電動閥門 / 下一篇:電動閥門如何接線誰能告訴下我